Continuous use temperature is 260°C/500°F,Flammability is UL94 V-0
PFA (Perfluoro alkoxyalkane) is a thermoplastic fluoro resin with excellent chemical, electrical and machine characteristics.
Chemically it is a highly stable material and it is not affected by most of the chemicals.
It is the most suitable material for semiconductor industry where periodic exposure to highly active chemicals is required.
Use RoHS2 compliant raw materials.


◆Black spots may occasionally appear on the external surface.
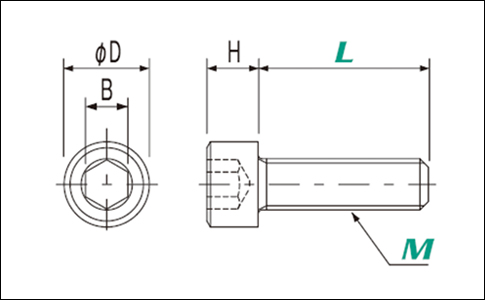
◆Gate residue of screw head is 5% or less for length (L).
◆If screw is used with a nut, we recommend using the screw and nut made of the same material.
◆If screw is used with a female threaded part, we recommend maximum depth of 20 mm.
◆Values in the table are for reference purpose only, and they are not guaranteed values.
◆Please use torque driver or torque wrench for fastening. Recommended fastening torque is 50% of the torsional rupture torque.
◆Since heat resistance and chemical resistance change based on usage conditions, please test under actual usage conditions beforehand.
◆Discoloration may occur depending on lot and various conditions.
◆Sizes, shapes and manufacturers of raw materials may change without notice.
MATSUYAMASANYI CORPORATION. all rights reserved.粤ICP备2022096997号-3