EN

CN EN JP



Specific gravity: light: 4.5, about 50% of copper and 60% of iron

High specific strength: about 3 times that of aluminum and 2 times that of iron

Corrosion resistance: Resistant to seawater, nitric acid, aqua regia, calcium chloride and other chemicals

Biocompatibility: less prone to metal allergies

Non-magnetic: Magnetic permeability (μ) is about 1.0001

Thermal properties: low thermal conductivity/thermal expansion rate


A high-end fastener manufacturer with a history of more than 90 years has successfully developed high-strength beta titanium (Ti15-3-3-3) screws

Overcome the disadvantages of pure titanium, achieve high tensile strength and achieve cost reduction


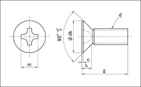
High strength titanium alloy countersunk head screws

Tensile strength: 800Mpa

Material quality: DAT51 (Ti-4AI-22V) produced by Datong Special Steel




MATSUYAMASANYI CORPORATION. all rights reserved.粤ICP备2022096997号-3